我的工作

我的工作中列举了所有自己参与办理的工作,包括以下几方面:

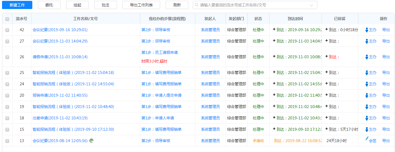
待办工作:是指上一步骤转交给自己,还没有办理完毕的工作。

办结工作:是指所有我办结的工作,不论整个流程是否结束;

对于已经转交下一步但还未接收的工作,本步骤主办人有收回工作的权限,收回后可以继续办理。

关注工作:可以进行查看自己关注的工作,也可以对已关注的工作取消关注。

委托工作:显示自己委托的工作记录。

已挂起:显示所有已经手动挂起的工作。可以对挂起的工作进行手动恢复。

传阅工作:显示所有传阅给自己的工作记录。

全部工作:所有以上工作的并集。

办结工作、关注工作、委托工作、全部工作、工作查询、工作监控中,可以执行单个流程催办或者多个流程催办,

如下图所示:

一键催办:

被催办的工作,在待办工作中排在前面,并有小红旗标注被催办的工作,需要尽快处理。

在流程中心->流程日志查询中可以查询到催办记录,如下图所示:

注:挂起的主要目的是将某些暂时不能办理的工作从待办工作里面分离出来显示,视觉上更清晰,等到可以办理的时候再将其恢复。
注:“我的工作”模块的查询列表支持记忆保留用户对列宽,显示/隐藏列的调整。

results matching ""

    No results matching ""