400 818 0505

大长江丰田汽车销售:智能请假,可视化数据分析

客户介绍:泉州市大长江丰田汽车销售服务有限公司石狮分公司是大长江(福建)投资集团旗下的全资孙公司,是一汽丰田在石狮地区指定的特约销售服务店,为广大用户提供国产及进口丰田的整车销售、售后维修服务,纯牌零部件供应及信息反馈为一体的的“4S”店分店

合作背景:“大长江丰田汽车销售”的请假流程,涉及到复杂的组织架构,不同部门、不同角色的请假申请需要审批的人员都各不相同,并且请假天数不同,需要审批的人员也不同,“大长江丰田汽车销售”有一套完善且复杂的请假审批流程规定,并且月度各部门员工的请假数据,需要有一个整体的数据统计分析,可视化展示请假的整体情况,以方便在管理上做出适当的调整。但是之前一直苦于没有一款可以高度自定义、高度灵活功能强大的产品能很大程度上契合企业需求,所以一直采用传统的工作模式,人工审批、人工填写单据、人工收集数据、人工统计分析数据、人工做各种复杂的计算,无形中增加了很多成本。

通达的“应用中心”是一款可以自主搭建个性化的管理系统的平台,用户可以按照自己的需求来搭建任意属于自己专属的“管理系统”,可以实现各个业务环节数据的互通,整体综合的数据统计分析。

“应用中心”强大之处是,
高度自定义:“自定义自己专属的、满足任意需求的、个性化的管理系统”。
关联一切:“关联任意业务环节、任意表与表、流程与流程之间数据”。
高度系统化:“打造完整的、系统的管理模块,整合、关联多个业务环节,用报表和图表从全公司层面、高角度分析数据”。

解决方案:

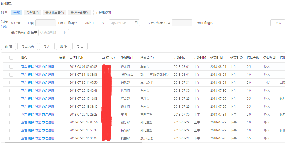
1 “数据视图”——更加直观、直接得查看到所有请假记录

“应用中心”的“数据视图”可以直观、直接得展示所有产生的“请假数据”,并且“数据视图”有“高级查询功能”可以进行任意的复杂条件下的查询、筛选;并且“应用中心”的“数据视图”是可以通过“新建视图”来自定义一个符合某些需求条件的专属“数据视图”,可以自定义“数据视图”的表头、查询字段、过滤条件、权限设置等等。

2 “智能计算请假天数”——请假天数选择上午、下午,半天自动计算0.5天

“大长江丰田汽车销售”的请假流程,是需要计算半天的,半天自动计算为0.5天。由于实际请假的过程中,经常会出现请半天假的情况,如果请假流程没办法自动计算半天的话,那么就只能请整数天,这与实际情况不符,并且也对工作造成延误,“应用中心”的表单可以通过一系列的计算公式自动计算半天。

3 “自己查看自己的请假记录”——在申请界面可以查看自己往期所有请假记录

“当员工填写“请假申请”时,点击“新建工作”时,就会自定显示出本月、自己的、往期的所有请假情况,让请假人清晰得知道,自己这个月在哪一天请了多少天假,本月一共请了多少假,员工自己可以在想再次请假时查看下往期情况,方便自己知悉情况和控制自己情况的天数或者频率。

4 “智能选人”——自动选择下一步审批部门的部门主管,提高流转效率

当员工填写“请假申请”之后,需要转交给不同部门、不同人员进行审批签字,“流程中心”的可以做到,不同部门的申请人转交了“请假申请”都会自动转交到自己部门的部门主管进行审批,智能转交不需要手动选人,大大提高了流转效率。

5 “条件判断”——根据表单内容智能判断,满足任意条件下流转

不同角色、不同部门的申请人需要审批的审批人是各不相同的,这就需要“流程中心”的“条件设置”功能,可以智能控制流程的流转方向,满足任意形式下、复杂条件组合下的需求,提升了流程的流转效率的同时,彰显出“流程中心”的智能性、人性化。

6 “明细表”——自定义展示字段、展示样式,直观查看明细数据

7 “图表”——关联请假数据,整体可视化分析,柱状图展示视觉上直观展示数据